34 12 130 ESD
Precision Electronics Gripping Pliers ESD
• The assortment for highest standard of performance and results
• Precision pliers for fine assembly work, e. g. in electronics and fine mechanics
• For gripping, holding and bending
• Electrically discharging handles – dissipative
• Bolted joint: precise, zero backlash operation of pliers
• Precisely finished joint surfaces for smooth, low friction movement along the complete opening range
• Low-friction double spring for smooth and even opening
• Smooth ground gripping surfaces, edges carefully deburred
• Non-reflective finish
• Low weight
• Ergonomically shaped, two-colour dual component ESD handles, black/grey
Technical attributes
| Part No. | 34 12 130 ESD |
|---|---|
| EAN | 4003773061632 |
| Pliers | burnished |
| Head | polished |
| Handles | with multi-component handles |
| Weight | 62 g |
| Dimensions | 130 x 53 x 13 mm |
| Standard | DIN ISO 9655 DIN EN 61 340-5 |
| REACH compliant | does not contain SVHC |
| RoHS compliant | not applicable |
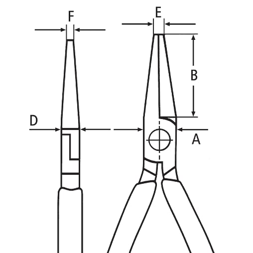
| Jaw length (B) | 21.9 mm |
| Jaw thickness (joint) (D) | 6.5 mm |
| Tips width (E) | 1.4 mm |
| Tips thickness (F) | 3.5 mm |
| Head width (A) | 11.2 mm |
| ESD | yes |
Documents
Spare Parts
KNIPEX Quality — Made in Germany
- Electrical
- Plumbing
- Electronics
- Automotive
- Industry
- Photovoltaics (solar energy)
- Building
- Aviation






