26 16 200
Snipe Nose Side Cutting Pliers
• Half-round, long, tapered jaws
• Distortion-tolerant, elastic precision tips
• Suitable for finer gripping and cutting work, also on easy and semi-difficult to reach areas
• With cutting edges for soft, medium-hard and hard wire
• Cutting edges additionally induction-hardened, cutting edge hardness approx. 61 HRC
Technical attributes
| Part No. | 26 16 200 |
|---|---|
| EAN | 4003773022831 |
| Pliers | chrome-plated |
| Head | chrome-plated |
| Handles | insulated with multi-component grips, VDE-tested |
| Weight | 206 g |
| Dimensions | 200 x 56 x 19 mm |
| Standard | DIN ISO 5745 DIN EN 60900 IEC 60900 |
| REACH compliant | does not contain SVHC |
| RoHS compliant | not applicable |
| Cutting capacities medium hard wire (diameter) | Ø 3.2 mm |
| Cutting capacities hard wire (diameter) | Ø 2.2 mm |
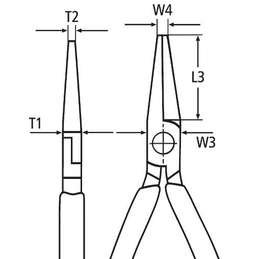
| Jaw thickness (joint) (T1) | 9.5 mm |
| Tips width (W4) | 3.0 mm |
| Tips thickness (T2) | 2.5 mm |
| Jaw length (L3) | 73.0 mm |
| Head width (W3) | 18 mm |
| VDE tested | yes |
Documents
Spare Parts
KNIPEX Quality — Made in Germany
- Electrical
- Plumbing
- Electronics
- Automotive
- Industry
- Photovoltaics (solar energy)
- Building
- Aviation







